We’d all like to believe that, at least once in our lifetimes, we’d had a clever idea. I know I wish I had. Some have actually acted upon their flashes of genius and made the world a little better for it. (I’m still trying to live down the 5-neck guitar, but in all fairness, it wasn’t my idea.) Over decades prowling trade-show floors, I’ve witnessed the debut of pure brilliance as well as the folly of unchecked self-indulgence. Also, inventors often send me briefs on their creations for consideration. In no particular order, other than the way I found them in my desk-drawer archives, I’d like to share a few items that never saw the glory their inventors hoped for. Disclaimer: Patents are all public record.
Flexible pickup magnets
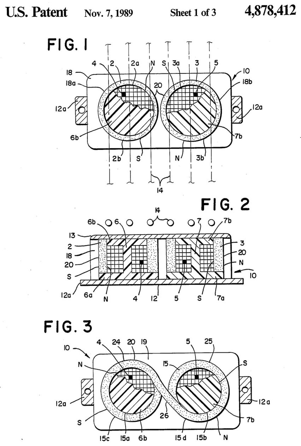
Title: Electromagnetic pickup for a stringed musical instrument having ferromagnetic strings and method.Patent Number: 4,878,412
Filing date: 1/9/1989
Inventor: Martin H. Resnick
Excerpt: “It is a primary objective of the present invention to provide a new and improved sound pickup for a stringed musical instrument having low material cost, fast and easier assembling, all components lending themselves to be formed and fabricated utilizing a basic inexpensive production and tooling setup.”
What Marty basically has here is a pickup using a flexible, plastic magnet (Fig. 1) that can be shaped and squeezed into various shapes. One of the side benefits is the design’s purported ability to reduce “squealing,” which the inventor blames on the iron core used in conventional pickups. The cover letter from Mr. Resnick’s attorneys notes that he has “an M.F.A. from Ohio University,” so I have no reason to doubt him. The patent application drones on for a dozen pages citing the usual prior art and exalting the benefits of using refrigerator-magnet material as the basis of your tone. The patent-application drawings are pretty cool looking, though, and it is worth noting that rubberized or plastic magnetic material was used in many of the gold-foil pickups of the 1960s.
Patented by music-industry giant Peavey, this pickup selector switch could have eliminated excuses for not being in the right position for that botched solo.
Giant Rocker Switch
Title: Selector switch.Patent Number: 4,305,320
Filing date: 9/29/1978
Inventor: Hartley D. Peavey
Excerpt: “The primary object of the present invention is to provide a selector switch for electric guitars that provides a more convenient and efficient method of switching to various other pick-ups for the guitar. Still another object of the present invention is to provide an electric guitar selector switch mechanism that is simple and inexpensive to manufacture and install and which is efficient to use.”
Dude! Hartley Peavey invented the big-ass switch (Fig. 2)! You have to Google this patent to appreciate how cool it is. The idea here is that if the switch is big enough, you can look at it to determine which pickup is on. The switch (roughly the size of a stop tailpiece) is positioned directly behind the, um, stop tailpiece. I have nothing but respect for Peavey, and his legacy is secure even though this didn’t catch on. In fairness, the president of a company always gets his or her name on the patent.
This pickup selector’s position could indeed allow a player to switch from rhythm to lead at a moment’s notice, but it could also allow a player to switch from rhythm to lead without notice. Whoops. NOTE: Please indicate small selector switch near bridge with a red circle or the like.
The Palm Switch
Title: Lazer guitar.Patent Number: 254,011
Filing date: 11/7/1977
Inventor: Joel M. Cohen
Excerpt: “The Palm Switch is the only switch in the only position which allows the player to kick from rhythm to lead without moving his hand away from the strings… players are attracted to it because it’s FAST FAST FAST!”
To be honest, this is only one feature included in the design patent for Cohen’s “Lazer” guitar. Although the instrument itself is a striking, angular design—ahead of the heavy metal curve for 1977—it is the palm switch that occupies two full pages of description. Inspired by Jimi Hendrix’s upside-down Strat, the pickup selector is placed insanely close to the top of the bridge pickup (Photo 1). You get the picture, right?
Sports fans are crafty at sneaking booze into a stadium. Likewise, this guitar could have served double-duty for toting a couple quarts of bourbon onto the NAMM-show floor.
Big Gulp Guitar
Title: The Bryan Guitar (represented by Synergy Consultants).Filing date: 1980s
Inventor: Unknown, but I bet it’s Bryan.
Not actually patented, the “The Bryan” guitar (Photo 2) deserves a mention because of its unique, hollow-Lexan body filled with deliciously colored liquid. This predates the “Wavecaster” used by John 5 and Kirk Hammett by 20 years. Too bad they didn’t get that patent! Resembling a 1980s “super strat” with the requisite Kahler whammy and hockey stick headstock, the Bryan could change color by changing the “specially formulated non-toxic liquid.” The solution was said to enhance the natural harmonics, producing “an extraordinary sound with unequalled performance.” The white paper on this breakthrough of sonic delight mentions that the concept was patent pending, and offered to license the rights to manufacture on an “industry standard” basis, whatever that means. If only there was a straw.
Now that the NAMM show is a recent memory, I’m wondering what the brightest bulbs have shown their light upon. Could it be a guitar that can finally and accurately mimic both Fender and Gibson sounds? Would it be a solid-state amplifier dripping with enough luscious tone to render Joe Bonamassa’s amp collection obsolete? Or is this the year that a pedal maker perfects the talent booster? I wasn’t there, so I haven’t got a clue, but I can look back over the years for some guidance. Not every one of these gems made it to a trade convention, but they do represent the kind of determination and freethinking I admire.









Zach loves his Sovtek Mig 60 head, which he plays through a cab he built himself at a pipe-organ shop in Denver. Every glue joint is lined with thin leather for maximum air tightness, and it’s stocked with Celestion G12M Greenback speakers.









![Devon Eisenbarger [Katy Perry] Rig Rundown](https://www.premierguitar.com/media-library/youtube.jpg?id=61774583&width=1245&height=700&quality=70&coordinates=0%2C0%2C0%2C0)



